





多管沖擊除塵器是一種通用設備,需要對其經常進行維護保養,設備長時間運行,會使沖洗水噴嘴堵塞,排污閥處卡有異物等,造成排污困難,內部煤泥越積越多,影響除塵效果,造成噴粉。沖洗,清理內
服務電話:13091153069(同微信)
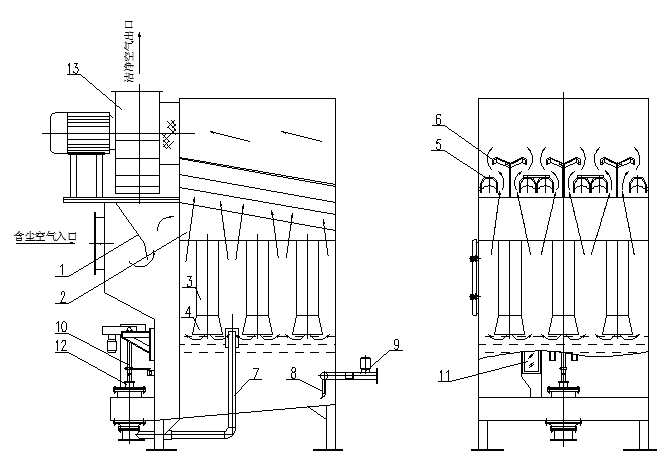
多管沖擊式除塵器常見故障及處理措施:
1.1除塵器排污閥異常
1.1.1排污閥關閉異常
(1)關限位誤動??刂葡淝惺謩?排污閥控制回路如圖2所示,圖中10~22為接線端子編號,sB4是排污閥關按鈕,按下sB4如果電機二次回路無反應,先檢查s02(內限位)和s03(外限位)是否發生誤動,當任何一個限位發生誤動,排污閥關閉無反應。此時應該檢查出現異常的限位開關,對其進行處理或更換。

(2)回路元器件損壞。如圖2所示,按下sB4按鈕,限位正常,關排污閥無反應,需要查看熱偶FR2是否動作,或查看接觸器KM3是否缺相及節點損壞。熱偶動作需要復位,并檢查閥桿是否卡澀及超過行程,結合實際問題進行處理。
(3)電機故障。按下sB4后,FR2出口正常帶電,電機無反應,此時需要檢查電機相關問題。
1.1.2線圈損壞
對電機口線圈進行檢查,如果三相對地測量絕緣存在絕緣過低情況,則三相之間阻值不平衡,需將其拆卸出廠檢修。
1.1.3軸承卡澀
測量線圈無異常之后,需要對軸承進行檢查,對電機進行手動轉動,如果明顯吃力則說明軸承卡澀,需要更換軸承。
1.1.4排污閥漏水
(1)盤根壓蓋密封不嚴。當盤根處出現壓蓋密封不嚴造成漏水現象,需要檢查密封墊片,檢查壓蓋螺栓是否松動及銹蝕,結合實際問題進行處理。
(2)排污閥閥桿卡澀。若限位正常,需要檢查排污閥閥桿,如果對排污閥進行關操作,限位觸桿不能觸碰到限位,排污閥不動,且有足夠的行程,觸動熱偶故障。此種現象主要是閥桿卡澀,需要對閥體進行解體,對盤根進行沖洗,對閥桿進行除銹等。
1.2除塵器水箱漫水
進水電磁閥控制回路如圖3所示,圖中23~29為接線端子編號,除塵器上水流程是電磁閥YV打開,水位到達備用水位時,觸發KA11動作,KA11的常閉節點斷開,電磁閥失電,停止注水。導致水箱漫水的原因主要有以下幾種:

1.2.1備用水位計信號異常
當備用水位計探頭結垢或線路開路,水位達到備用水位時,信號燈不亮,進水電磁閥保持打開狀態,繼續注水,最終從溢流孔留出,水箱漫水。因此,應及時清理備用水位計探頭處的污垢。
1.2.2進水電磁閥卡澀
當水位達到備用水位,聯鎖電磁閥停運,但因電磁閥卡澀,閥體保持打開狀態,水箱繼續進水,最終從溢流孔留出,水箱漫水。此時需清理或更換電磁閥。
1.3程控狀態時排污閥頻繁動作
風機、排污閥控制回路如圖4所示,圖中3~22為接線端子編號,KA14為基本水位繼電器常閉節點,除塵器長時間處于停運狀態并且排污閥存在漏水現象,水箱內部大部分水流失。遠程啟動風機時,負壓對水箱水位造成波動,使基本水位信號消失,KA14斷開,風機停運聯鎖排污閥打開,同時進水電磁閥動作,KT1計時時間到后排污閥關閉。關閉到位,進水電磁閥保持進水,基本水位信號亮起,KA14閉合,風機啟動,造成基本水位信號消失。之后不斷循環以上步驟,浪費大量水源及影響設備正常運行,需要及時對排污閥漏水問題進行處理。

1.4風機出口管噴粉
含塵氣體中的煤粉未被全部吸收,隨空氣從風機出口排出,造成噴粉現象。
1.4.1水箱內煤泥過多或有雜物
設備長時間運行,會使沖洗水噴嘴堵塞,排污閥處卡有異物等,造成排污困難,內部煤泥越積越多,影響除塵效果,造成噴粉。因此,需要定期對除塵器水箱內部進行沖洗,清理內部雜物等。
1.4.2管道部件銹蝕
由于部分除塵器安裝在環境比較潮濕的地方,長期工作后設備會被腐蝕,主要腐蝕位置有入口風管與導料槽及除塵器本體連接喇叭口處、箱體、內部分配送風管等。這些部分經過長期磨損及腐蝕,導致局部破損,嚴重影響了除塵器的除塵效率。因此,需不斷加強巡視,及時更換銹蝕部件,通過技改提高防腐能力,除塵器箱體、內部分配送風管采用不銹鋼制作,將除塵器安裝到潮濕度較低的地方等。
總而言之,除塵器是一種通用設備,需要對其經常進行維護保養,除塵器的使用、維護、保養經驗需要通過日常工作逐漸積累。由于本文篇幅有限,不再將所有常見故障內容一一贅述,希望能夠為使用除塵器的相關用戶提供一定的幫助。
